近日,有消息称,三星计划在Note系列产品线上采用与S10系列相似的产品策略。如果该消息属实,这意味着今年三星Note10系列可能至少会有三款新品,而且据爆料称,该系列最高配版本可能会被称作“三星Note10 Pro”。4月16日,疑似三星Note10 Pro的部分配置参数在网上曝光。

三星Note10系列渲染图(图源Phone Arena)
根据曝光的信息,三星Note10 Pro搭载6.75英寸QHD+超感光全视屏,拥有超高色彩准确度,支持HDR+高动态范围图像,视觉感受震撼;在核心配置上,该机搭载高通骁龙855移动平台,同时内置X50 5G基带以支持5G网络。

三星Note10系列渲染图(图源Phone Arena)
在拍照方面,该机后置四摄,分别是1200万像素广角镜头、1200万像素长焦镜头、1600万像素超广角镜头和一颗TOF镜头,前置1000万+800万像素双摄像头,由于采用了Infinity-O屏幕设计,所以三星Note10 Pro正面屏幕样式与三星S10+相似。

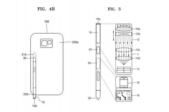
新一代S-Pen手写笔专利示意图
据悉,三星Note10系列将会搭配新一代S-Pen手写笔,此前有报道称,新一代S-Pen将内置摄像头,可用于拍照,同时支持光学防抖。